一、为什么选择袋装培养基?——选产品,就是选工艺
1.更低污染风险细胞培养最关键
袋装为全封闭系统,无需开盖倾倒,直接对接生物反应器。减少空气暴露、人员操作带来的污染风险,无菌保障更可靠。
2.更适合规模化培养
规格覆盖50mL至50L,瓶装难以实现。可与一次性生物反应器、WAVE、摇摆袋等联用,批次一致性更好,从研发到生产无缝放大。
3.材料更安全,使用更灵活
采用医用级膜材与管材,无塑化剂、无细胞毒性。袋装密封性强,可分次使用,未用完部分可短期保存,减少浪费。
4.更符合GMP合规趋势
一次性密闭系统减少清洁验证、灭菌验证工作量,批次追溯简单,降低交叉污染风险。适配细胞治疗、基因药物等现代生物制药生产规范。
二、核心膜材技术
1.七层共挤生物制药专用膜——强韧安全,为一次性系统而生
袋体采用7层共挤复合膜,总厚度350μm ± 10%,每层功能明确,协同提供卓越的机械强度、阻隔性能和生物安全性。

2.技术保障
(1)物理参数
测试项目 | 测试值 | 参考标准 |
拉伸强度(纵向)MPa | 22.5 | YBB00112003 |
拉伸强度(横向)MPa | 24.5 | YBB00112003 |
热合强度(横向)MPa | 79.9 | YBB00112003 |
热合强度(纵向)MPa | 73.9 | YBB00112003 |
穿刺强度 N | 15.3 | GB/T 10004-2008 |
水蒸气透过量 g/(m²*24h) | 1.0 | YBB00112003 |
氧气透过量 cm³/(m²*24h*0.1MPa) | 0.9 | YBB00112003 |
氮气透过量 cm³/(m²*24h*0.1MPa) | 1.3 | YBB00112003 |
(2)生物相容性
测试标准 | 测试项目 | 测试结果 |
USP <87> | 细胞毒性 | 通过 |
USP <88> Class VI | 急性全身毒性 | 通过 |
USP <88> Class VI | 皮内刺激 | 通过 |
USP <88> Class VI | 肌肉植入试验 | 通过 |
ISO 10993-4 | 溶血试验 | 通过 |
(3)性能测试
参考标准 | 测试项目 | 测试结果 |
YBB00272004 | 不溶性微粒 | 通过 |
《中国药典》通则1143 | 细菌内毒素 | 通过 |
《中国药典》通则1105/1106 | 微生物限度 | 通过 |
ISO 11137 | 无菌保证水平 | 通过 |
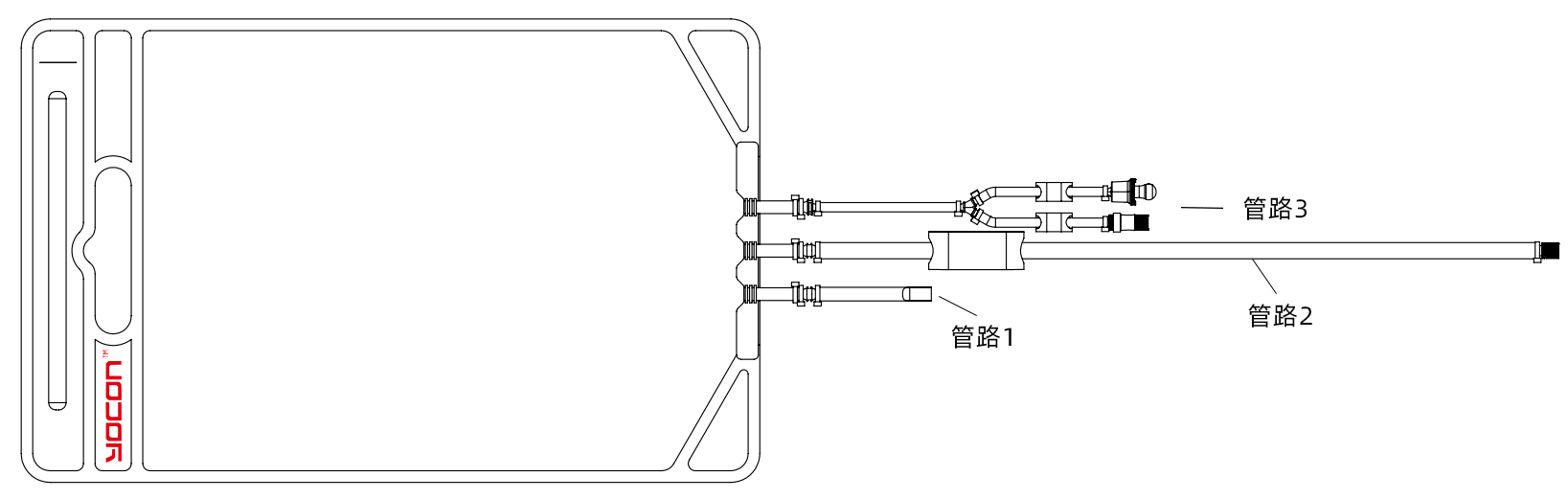
三、产品结构
以5L袋装培养基为例:

参数指标 | 管路1 | 管路2 | 管路3 |
用途 | 灌装管路 | / | 取样管路 |
管材 | C-Flex | C-Flex | 硅胶管 |
尺寸 | 9.6*6.4mm | 11.2*6.4mm | 6.4*3.2mm |
焊接兼容 | 带液焊接 | 带液焊接 | 不可焊接 |
接口 | / | 母鲁尔接头 | 母鲁尔接头/快插接头 |
➡️管材说明:以C-Flex为代表的高端医用级管材,与硅胶管、鲁尔接头等组件形成完整管路配置,充分发挥一次性系 统的封闭式、可焊接、低析出核心优势。
四、定制化服务
友康提供全方位的袋体定制选项,以满足不同工艺需求:
定制项目 | 可选范围 |
袋体尺寸 | 规格覆盖 50mL 至 50L |
管路材质 | TPE管、铂金硫化硅胶管等 |
管路规格 | 内径、壁厚、长度、数量均可定制 |
接口类型 | 鲁尔接头(公/母)、TC卡盘、无取样接头、YOCON快插接头或CPC快插接头等 |
五、常规产品规格
1.免疫细胞治疗:NK细胞、T细胞等免疫细胞规模化扩增
产品名称 | 产品货号 | 产品规格 | 保存温度 | 简要说明 | 目录价格 |
免疫细胞无血清培养基 5.0(rHSA) | NC0112.3B | 1 L/ 袋 | 4°C | rHSA,含酚红。带可热熔PVC无菌连接管路。 | ¥1378 |
免疫细胞无血清培养基 5.0(rHSA/Phenol Red Free ) | NC0112.4B | 1 L/ 袋 | 4°C | rHSA,无酚红。带可热熔PVC无菌连接管路。 | ¥1644 |
免疫细胞修复培养基 2.0(rHSA) | NC0113-3B | 200 mL/ 袋 | 4°C | rHSA,含酚红。带可热熔PVC无菌连接管路。 | ¥2576 |
免疫细胞修复培养基 2.0(rHSA/Phenol Red Free) | NC0113.1B | 200 mL/ 袋 | 4°C | rHSA,无酚红。带可热熔PVC无菌连接管路。 | ¥2994 |
T细胞无血清培养基(rHSA) | NC0115-1B | 500mL / 袋 | 4°C | 用于体外培养 T 细胞,使用本产品不需要添加血浆,血替等不明确成分。 细胞持续扩增能力达 1500 倍以上。 | ¥858 |
NC0115-2B | 1 L/ 袋 | 4°C | 用于体外培养 T 细胞,使用本产品不需要添加血浆,血替等不明确成分。 细胞持续扩增能力达 1500 倍以上。 | ¥1317 | |
免疫细胞无血清 培养基 6.0 (rHSA) | NC0114.2B | 1 L/ 袋 | 4°C | 用于体外培养各类免疫细胞,使用该产品培养 NK 细胞增值速度更快, 细胞持续扩增能力增强。PBMC 细胞最高扩增 3000 倍, NK 细胞扩增超过 10000 倍。添加 rHSA。无血清、无人源、无动物源。 | ¥1197 |
2.干细胞治疗:间充质干细胞临床级扩增
产品名称 | 产品货号 | 产品规格 | 保存温度 | 简要说明 | 目录价格 |
GMP级MSC无血清培养基基础 2.0 | NC0107-B | 5 L/ 袋 | 4°C | 5 L装量,多层共挤袋,预留无菌可热熔 PVC 或 TPE 管路。可直连生物反应器。 | ¥13216 |
MSC无血清培养基基础 | NC0103-B | 5 L/ 袋 | 4°C | 5 L装量,多层共挤袋,预留无菌可热熔 PVC 或 TPE 管路。可直连生物反应器。 | ¥14144 |
3.病毒载体与重组蛋白生产:助力慢病毒、AAV、单克隆抗体等规模化制备
产品名称 | 产品货号 | 产品规格 | 保存温度 | 简要说明 | 目录价格 |
293 细胞无血清培养基 | NC0108-1B | 1 L/ 袋 | 4°C | 无血清,含蛋白。 | ¥1011 |
NC0108-2B | 5 L/ 袋 | 4°C | 无血清,含蛋白。 | ¥3424 | |
293 细胞无血清培养基(无蛋白) | NC0109-1B | 1L/袋 | 4℃ | 无血清,无蛋白。 | ¥1109 |
NC0109-2B | 5L/袋 | 4°C | 无血清,无蛋白。 | ¥3913 |
